Время работы:

ПН-ПТ 10:00 - 19:00
СБ-ВС выходной

Каталог товаров

Электроводонагреватель проточный Эван В1 - 30

Артикул: НС-0030841
(0)
Доставка по России любой ТК (транспортной компанией)
Все товары сертифицированы
Основные характеристики
Страна производитель
Россия
Напряжение, В
380
Давление срабатывания датчика минимального давления
0,75 (7,5 атм) МПа
Испытательное давление
12 атм
Количество блоков
2
Количество ТЭНов в блоке
3
КПД
93%
Максимальная температура в точке водозабора
75 ±5°С
Минимальное допустимое давление на входе
0,5 атм
Мощность одного ТЭНа
5 кВт
Производительность (при Δt = 35°С)
750 л/ч
Рабочее давление воды
6 атм
Размер (высота), мм
650
Размер (глубина), мм
180
Размер (ширина), мм
255
Разница температур между входом и выходом
35°С
Температура срабатывания аварийного датчика
85 ±2°С
Габариты, мм
650х255х180
Вес, кг
25
Гарантия
18 месяцев

Особенности

  • Простота монтажа, управления и технического обслуживания
  • Единый корпус
  • Три уровня безопасности
  • Экологически чистое двухстороннее покрытие емкости для нагрева
  • Разница температур между входом и выходом при номинальном протоке + 35°С
  • Плавная регулировка температуры воды термостатом
  • Применение блочных ТЭНов из нержавеющей стали в качестве нагревательного элемента
  • Гарантия надежной работы при изменении напряжения питающей сети ±10% от номинального значения

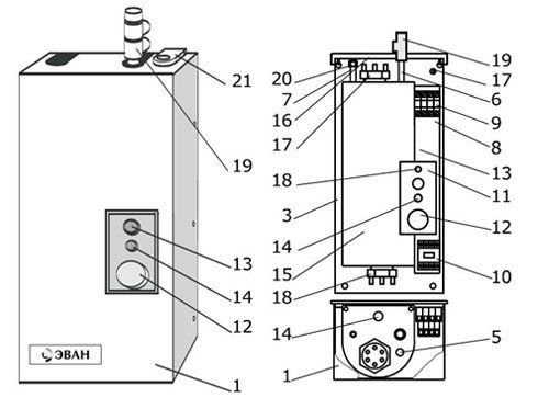
Устройство водонагревателя

  1. кожух
  2. котел
  3. панель
  4. датчик термовыключателя
  5. датчик терморегулятора
  6. выходной патрубок
  7. входной патрубок
  8. кронштейн
  9. пускатель
  10. полка кронштейна
  11. ручка терморегулятора "ТЕМПЕРАТУРА"
  12. выключатель "СЕТЬ"
  13. сигнальная лампа "НАГРЕВ"
  14. предохранитель цепи управления
  15. закладная
  16. зажим заземления
  17. блок ТЭН
  18. предохранительный клапан
  19. обратный клапан
  20. гермоввод (уплотнительная манжета)

Электроводонагреватель проточный Эван В1 - 30 в продаже по цене 0 руб. в Интернет-магазине Проф-инструмент с доставкой в Нижнем Новгороде и Нижегородской области. Звоните по телефону +8 (800) 302-10-51.

Похожие товары
Артикул: НС-1036904
Проточные водонагреватели Flow active оборудованы электронной системой управления, автоматически поддерживающей постоянный нагрев воды и контролирующей температуру на входе и выходе из прибора во избежание ее повышения/понижения при скачках давления воды. Водонагреватель имеет мощный спиральный нагревательный элемент из нержавеющей стали. Все модели защищены от образования накипи и перегрева, компактны и имеют высший класс пылевлагозащищенности (IP X4).
Не указана цена за 1
Артикул: НС-0030850
Проточный электроводонагреватель ЭПВН класса «СТАНДАРТ-ЭКОНОМ» предназначен для приготовления горячей воды в частных домах, коттеджах, социальных и коммерческих объектах.
Не указана цена за 1